マネーフォワード クラウド請求書と会計の連携確認方法:仕訳が正しく作られているかチェック!
マネーフォワード クラウド請求書は、見積書、納品書、請求書などの帳票を簡単に作成できる便利なツールです。しかし、この請求書を会計と連動して使用する際、「あれ、きちんと連携できているのかな?」と疑問に感じる方も多いのではないでしょうか。
デフォルトの設定では、クラウド請求書で請求書さえ正しく作成されていれば、実は仕訳データは自動で会計に連携されています。この記事では、連携が正しく行われているかを確認する具体的な手順を解説します。
1. 売掛金発生の仕訳(発生仕訳)を確認する方法
請求書が作成された時点で自動で作成される「売掛金発生の仕訳」は、以下の手順で確認できます。
- マネーフォワード クラウド会計を開きます。
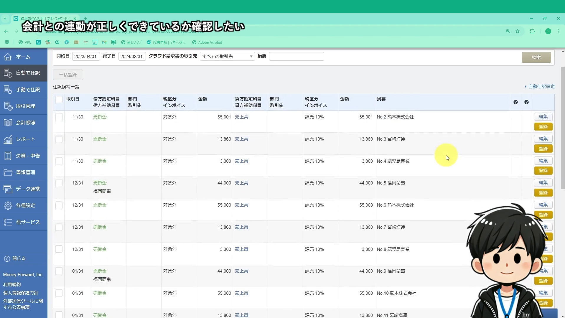
- 自動で仕訳メニューから請求書から入力をクリックします。

この画面では、これまでに作成した請求書から作られた仕訳の候補が一覧で表示されます。

確認すべきポイント
- 仕訳の内容: 請求書と会計で特別な設定を行っていない場合、通常以下のような仕訳の候補が表示されます。
- 借方勘定科目:売掛金
- 貸方勘定科目:売上高
- この仕訳は、売掛金の発生を表しています。
- 確認のしやすさ: 適用欄には請求書ナンバーと取引先名称が入っているため、どの請求書に対応した仕訳であるか確認が容易です。
注意点:まだ登録はされていません
この段階で表示されている仕訳は、まだ会計に登録されているわけではありません。明細の右端にある登録ボタンをクリックすることで、初めて仕訳として反映されます。もし登録前に内容を修正したい場合は、編集ボタンをクリックすることで変更が可能です。

Q. 登録ボタンを押さずに、そのまま仕訳として登録できないの?
自動仕訳設定で「仕訳候補を確認しない」を選択すると、仕訳が直接登録されるようになります。

自動仕訳設定は「請求書から入力」の仕訳候補一覧が表示されている画面の右上あたりにリンクがあります。

Q. 売掛金や売上高以外の勘定科目・補助科目を設定できないの?
同じく自動仕訳設定の中で、勘定科目を選択することができます。貸方科目はすべての取引で固定になりますが..

借方科目は取引先別に勘定科目、補助科目、部門を設定することもできます。とくに補助科目については取引先別の売掛金残高をする場合に重要ですので、よく理解して設定するようにしましょう。➡ガイドはこちら。

2. 入金予定の仕訳(未実現仕訳)を確認する方法
売掛金発生の仕訳だけでなく、入金予定の仕訳も会計側に連携されています。これらは「未実現仕訳」として処理されます。
- マネーフォワード クラウド会計を開きます。
- 仕訳帳メニューを開きます。
- 未実現仕訳を検索します。

確認すべきポイント
- 請求書のスタンプ: 取引の欄に請求書のスタンプが付いている仕訳が表示されます。
- 仕訳の内容: 設定を何も行っていない場合、通常以下のような仕訳が表示されます。
- 借方勘定科目:普通預金
- 貸方勘定科目:売掛金

注意点:実現処理が必要です
この入金予定の仕訳は「未実現仕訳」として登録されているため、「実現の処理」をしなければ会計には反映されません,。これはマネーフォワードの「予定実現」という機能によるものです。
なお、仕訳帳から実現の処理を行うことも可能ですが、インターネットバンキングを使用し会計と連携している場合は、「自動で仕訳」>「連携サービスから入力」の画面で、実際に入金のあった明細から実現の処理を行う方がわかりやすく、効率的です。連携サービスから入力で、該当の金融機関の入金明細で「予定実現」の欄のチェックボックスにチェックを入れると..

勘定科目の欄から未実現仕訳を選択できるようになります。すべての未実現仕訳が一覧表示されるので、該当のものを選択し、登録をすると、仕訳帳で実現処理をしたのと同様に未実現仕訳が消えて通常の仕訳が登録されます。

Q. 未実現仕訳はすべて実現しなければいけないの?
「連携サービスから入力」で売掛金の入金の明細の処理の際に、未実現仕訳を選択せず(実現処理をせず)に、通常の売掛金などの科目として処理をしていたとしても、会計上は全く問題はありません。
ただし、仕訳帳などで検索した場合に未実現仕訳が残ってしまうので、意味が分からないまま運用していると、何かのきっかけで実現処理をしてしまい、二重に入金仕訳が登録されてしまうということもありえます。もし、未実現仕訳を作成しないのであれば、請求書側の帳票設定で「請求書に対応した入金予定の仕訳」のチェックを外しておくことで、未実現仕訳が作成されなくなります。

まとめ
マネーフォワード クラウド請求書とクラウド会計の連携が正しく行われているかは、「自動で仕訳」メニューの請求書から入力画面で売掛金発生の仕訳候補を確認し、さらに仕訳帳で未実現仕訳(入金予定の仕訳)を確認することでチェックできます。
ただし、勘定科目の設定や未実現仕訳の理解をせずに運用していると、誤った仕訳を登録してしまう可能性もありますので、あらかじめ動作をよく確認し、運用ルールを作ったうえで利用するようにしましょう。

セブンセンス株式会社
コンサルタント
【プロフィール】
2015年、セブンセンス株式会社に入社。 前職の会計ソフトベンダーにおけるシステム提案の経験を活かし、中小企業を中心としたバックオフィス業務の改善コンサルティングを担当。業務効率化やDX推進を支援する傍ら、デジタルマーケティング領域も管轄している。
freee、マネーフォワード、OBC、PCA、ソリマチなど、主要な会計ソフトベンダーの認定資格を多数保有しており、各社のシステムに精通した中立的な視点でのツール選定・導入支援に強みを持つ。





